Drilling with chip breaking cycle G73 <W5DChipBreaking>

Drilling with chip breaking cycle <W5DChipBreaking(473)> (G73) performs tool approach to the hole center at the <Z return level>. When cyclic drilling is performed with tool retraction for chip breaking.

images/download/attachments/142669172/G73.PNG

The cycle consists of:

  • Rapid approach to the hole center at the <Z return> level.

  • Rapid travel to the <Z safe> level.

  • Work feedrate motion to the <Step depth S>.

  • <Dwell> for the <Delay> at the bottom time.

  • Rapid tool retraction for the <Withdrawal distance (Ld)>.

  • <Dwell> for the <Dwell at the top> time.

  • Rapid motion to the previous depth level, with a <Deceleration (Dcl)>.

  • Work feedrate to the <Deceleration (Dcl)> with <Step (S)>.

  • <Dwell> at for the <Dwell at the bottom> time.

  • Repeat previous five iterations until the full hole depth is reached.

  • Rapid tool return to the <Z retract> level..

Parameters:


CLD array

Description

CLD[1]

CLD.SubCmd

Command type:

ON(71) – canned cycle on,

CALL(52) – canned cycle call,

OFF(72) – canned cycle off.

CLD[2]

CLD.SubType

Canned cycle type identifier: W5DChipBreaking(473).

CLD[3]

CLD.CLParams(1)

Nx, X coordinate of the tool normal vector

CLD[4]

CLD.CLParams(2)

Ny, Y coordinate of the tool normal vector

CLD[5]

CLD.CLParams(3)

Nz, Z coordinate of the tool normal vector

CLD[6]

CLD.CLParams(4)

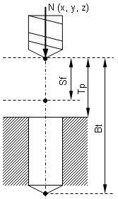
Sf, Normal distance from current tool position to the safe plane level

CLD[7]

CLD.CLParams(5)

Tp, Normal distance from current tool position to the hole top level

CLD[8]

CLD.CLParams(6)

Bt, Normal distance from current tool position to the hole bottom level

CLD[9]

CLD.CLParams(7)

Work feed measurements: 0 – mm/rev,

1 – mm/min

CLD[10]

CLD.CLParams(8)

Work feed value

CLD[11]

CLD.CLParams(9)

Approach feed measurements: 0 – mm/rev,

1 – mm/min

CLD[12]

CLD.CLParams(10)

Approach feed value

CLD[13]

CLD.CLParams(11)

Return feed measurements: 0 – mm/rev,

1 – mm/min

CLD[14]

CLD.CLParams(12)

Return feed value

CLD[15]

CLD.CLParams(13)

Delay at the bottom level in seconds

CLD[16]

CLD.CLParams(14)

Delay at the top level in seconds

CLD[17]

CLD.CLParams(15)

St, chip breaking step value

CLD[18]

CLD.CLParams(16)

Dg, each iteration chip breaking step degression

CLD[19]

CLD.CLParams(17)

Dc, before drilling deceleration value for each step

CLD[20]

CLD.CLParams(18)

Ld, each step lead out value for cutting process breaking

CLD[50]

CLD.CLParams(48)

What spindle is used to machining:

1 - driven tool,

2 - workpiece spindle (lathe).


images/download/attachments/142669172/641d67a6-9a71-4de5-9e40-e78c0c4410f5.bmp

See also:

Technology commands description

Extended cycle <EXTCYCLE>