Tapping cycle G84 <W5DTap>


Tapping cycle <W5DTap(484)> (G84) performs rapid approach to the <Z return> level, thread tapping with subsequent retraction at work feedrate with reverse spindle rotation.

images/download/attachments/142669177/G84.PNG

G84 tapping cycle includes:

  • Rapid approach to the hole center at the <Z return> level.

  • Rapid travel to the <Z safe level>.

  • Work feedrate motion the <Z min> level.

  • Spindle reverse rotation and work feedrate trave to <Z safe> level.

  • Rapid retract to the <Z return> level.

  • Restore spindle rotation direction and speed.

If the appropriate setting is enabled, then tap retracts to break / remove chip during the cycle execution. Way to break chips is determined by CLD [20] parameter.

CNC-systems often have different tapping canned cycles for fixed and floating socket types. Socket type is specified by the <CLD[19]> (CLD.CLParams(17)) parameter.

Parameters:


CLD array

Description

CLD[1]

CLD.SubCmd

Command type:

ON(71) – canned cycle on,

CALL(52) – canned cycle call,

OFF(72) – canned cycle off.

CLD[2]

CLD.SubType

Canned cycle type identifier: W5DTap(484).

CLD[3]

CLD.CLParams(1)

Nx, X coordinate of the tool normal vector

CLD[4]

CLD.CLParams(2)

Ny, Y coordinate of the tool normal vector

CLD[5]

CLD.CLParams(3)

Nz, Z coordinate of the tool normal vector

CLD[6]

CLD.CLParams(4)

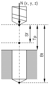
Sf, Normal distance from current tool position to the safe plane level

CLD[7]

CLD.CLParams(5)

Tp, Normal distance from current tool position to the hole top level

CLD[8]

CLD.CLParams(6)

Bt, Normal distance from current tool position to the hole bottom level

CLD[9]

CLD.CLParams(7)

Work feed measurements: 0 – mm/rev,

1 – mm/min

CLD[10]

CLD.CLParams(8)

Work feed value

CLD[11]

CLD.CLParams(9)

Approach feed measurements: 0 – mm/rev,

1 – mm/min

CLD[12]

CLD.CLParams(10)

Approach feed value

CLD[13]

CLD.CLParams(11)

Return feed measurements: 0 – mm/rev,

1 – mm/min

CLD[14]

CLD.CLParams(12)

Return feed value

CLD[15]

CLD.CLParams(13)

Delay at the bottom level in seconds

CLD[16]

CLD.CLParams(14)

Delay at the top level in seconds

CLD[17]

CLD.CLParams(15)

Thread step

CLD[18]

CLD.CLParams(16)

Initial spindle angle in degrees (for multistart threads)

CLD[19]

CLD.CLParams(17)

Tap socket type:

0 – floating (compensative),

1 – fixed (uncompensative)

CLD[20]

CLD.CLParams(18)

The way to break chip :

0 – without chip breaking,

1 – chip removing,

2 – chip breaking

CLD[21]

CLD.CLParams(19)

St, chip breaking step value

CLD[22]

CLD.CLParams(20)

Dg, each iteration chip breaking step degression

CLD[23]

CLD.CLParams(21)

Dc, before drilling deceleration value for each step

CLD[24]

CLD.CLParams(22)

Ld, each step lead out value for cutting process breaking

CLD[50]

CLD.CLParams(48)

What spindle is used to machining:

1 - driven tool,

2 - workpiece spindle (lathe).


images/download/attachments/142669177/W5DSchema.png

See also:

Technology commands description

Extended cycle <EXTCYCLE>