Drilling with chip removing cycle G83 <W5DChipRemoving>

Drilling with chip removing cycle <W5DChipRemoving(483)> (G83) performs tool motion to the hole center at the <Z return> level and consequent cyclic drill with tool retraction to the <Z safe> level.

images/download/attachments/142669167/G83.PNG

Cycle consists of:

  • Rapid approach to the hole center at the <Z return> level.

  • Rapid travel to the <Z safe> level.

  • Work feedrate motion to the <Step depth S>.

  • <Dwell> for the <Delay at the bottom> time.

  • Rapid return to <Z safe> level.

  • <Dwell> for the <Dwell at the top> time.

  • Rapid motion to the previous depth level, with a <Deceleration (Dcl)>.

  • Work feedrate to the <Deceleration (Dcl)> with <Step (S)>.

  • <Dwell> at for the <Dwell at the bottom> time.

  • Repeat previous five iterations until the full hole depth is reached.

  • Rapid tool return to the <Z retract> level.

Parameters:


CLD array

Description

CLD[1]

CLD.SubCmd

Command type:

ON(71) – canned cycle on,

CALL(52) – canned cycle call,

OFF(72) – canned cycle off.

CLD[2]

CLD.SubType

Canned cycle type identifier: W5DChipRemoving(483).

CLD[3]

CLD.CLParams(1)

Nx, X coordinate of the tool normal vector

CLD[4]

CLD.CLParams(2)

Ny, Y coordinate of the tool normal vector

CLD[5]

CLD.CLParams(3)

Nz, Z coordinate of the tool normal vector

CLD[6]

CLD.CLParams(4)

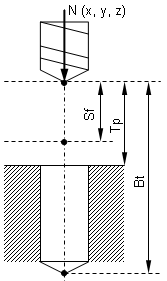
Sf, Normal distance from current tool position to the safe plane level

CLD[7]

CLD.CLParams(5)

Tp, Normal distance from current tool position to the hole top level

CLD[8]

CLD.CLParams(6)

Bt, Normal distance from current tool position to the hole bottom level

CLD[9]

CLD.CLParams(7)

Work feed measurements: 0 – mm/rev,

1 – mm/min

CLD[10]

CLD.CLParams(8)

Work feed value

CLD[11]

CLD.CLParams(9)

Approach feed measurements: 0 – mm/rev,

1 – mm/min

CLD[12]

CLD.CLParams(10)

Approach feed value

CLD[13]

CLD.CLParams(11)

Return feed measurements: 0 – mm/rev,

1 – mm/min

CLD[14]

CLD.CLParams(12)

Return feed value

CLD[15]

CLD.CLParams(13)

Delay at the bottom level in seconds

CLD[16]

CLD.CLParams(14)

Delay at the top level in seconds

CLD[17]

CLD.CLParams(15)

St, chip removing step value

CLD[18]

CLD.CLParams(16)

Dg, each iteration chip removing step degression

CLD[19]

CLD.CLParams(17)

Dc, before drilling deceleration value for each step

CLD[50]

CLD.CLParams(48)

What spindle is used to machining:

1 - driven tool,

2 - workpiece spindle (lathe).


images/download/attachments/142669167/fca1037e-eddf-4733-b9ad-60b26828b471.bmp

See also:

Technology commands description

Extended cycle <EXTCYCLE>