Drilling cycle G87 <W5DBore7>


Boring cycle <W5DBore7(487)> (G87) performs tool approach to the hole center, hole boring with stop at minimum level and manual retract to the <Return> level.

images/download/attachments/142669192/G87.PNG

Boring canned cycle G87 consists of:

  • Rapid travel to the hole center at the <Z return> level.

  • Rapid travel to the <Z safe> level.

  • Work feedrate travel to the <Z min> level.

  • <Spindle stop>. If oriented spindle stop is enabled (CLD [14] parameter), it is positioning the spindle in a given angular position and then tool shifts to specified small value of the X, Y and Z coordinates.

  • Manual retract to the <Z return> level.

  • Restore spindle rotation direction and speed.

Parameters:


CLD array

Description

CLD[1]

CLD.SubCmd

Command type:

ON(71) – canned cycle on,

CALL(52) – canned cycle call,

OFF(72) – canned cycle off.

CLD[2]

CLD.SubType

Canned cycle type identifier: W5DBore7(487) (G87).

CLD[3]

CLD.CLParams(1)

Nx, X coordinate of the tool normal vector

CLD[4]

CLD.CLParams(2)

Ny, Y coordinate of the tool normal vector

CLD[5]

CLD.CLParams(3)

Nz, Z coordinate of the tool normal vector

CLD[6]

CLD.CLParams(4)

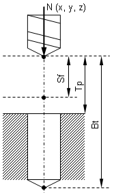
Sf, Normal distance from current tool position to the safe plane level

CLD[7]

CLD.CLParams(5)

Tp, Normal distance from current tool position to the hole top level

CLD[8]

CLD.CLParams(6)

Bt, Normal distance from current tool position to the hole bottom level

CLD[9]

CLD.CLParams(7)

Work feed measurements: 0 – mm/rev,

1 – mm/min

CLD[10]

CLD.CLParams(8)

Work feed value

CLD[11]

CLD.CLParams(9)

Approach feed measurements: 0 – mm/rev,

1 – mm/min

CLD[12]

CLD.CLParams(10)

Approach feed value

CLD[13]

CLD.CLParams(11)

Return feed measurements: 0 – mm/rev,

1 – mm/min

CLD[14]

CLD.CLParams(12)

Return feed value

CLD[17]

CLD.CLParams(15)

The state of the oriented spindle stop at the bottom of the hole: 0 - off, 1 - enabled.

CLD[18]

CLD.CLParams(16)

The angular position of the spindle when stopping at the bottom of the hole (degrees)

CLD[19]

CLD.CLParams(17)

The value of tool shift for the X coordinate after oriented spindle stop at the bottom of the hole.

CLD[20]

CLD.CLParams(18)

The value of tool shift for the Y coordinate after oriented spindle stop at the bottom of the hole.

CLD[21]

CLD.CLParams(19)

The value of tool shift for the Z coordinate after oriented spindle stop at the bottom of the hole.

CLD[50]

CLD.CLParams(48)

What spindle is used to machining:

1 - driven tool,

2 - workpiece spindle (lathe).


images/download/attachments/142669192/W5DSchema.png

See also:

Technology commands description

Extended cycle <EXTCYCLE>