Drilling cycle G81 <W5DDrill>

Drilling cycle type <W5DDrill(481)> (G81) drills holes with rapid approach to the safe level and rapid retract the safe plane level.

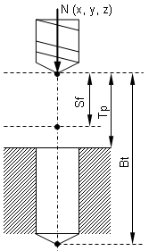
images/download/attachments/142669157/G81.PNG

Drilling cycle G81 consist of the following steps:

  • Rapid tool motion to the hole center at the <Z return> level.

  • Rapid descend to the <Z safe> level.

  • Work feedrate motion to the <Z min> level.

  • Rapid tool return to the <Z return> level.

Parameters:


CLD array

Description

CLD[1]

CLD.SubCmd

Command type:

ON(71) – canned cycle on,

CALL(52) – canned cycle call,

OFF(72) – canned cycle off.

CLD[2]

CLD.SubType

Canned cycle type identifier: W5DDrill(481).

CLD[3]

CLD.CLParams(1)

Nx, X coordinate of the tool normal vector

CLD[4]

CLD.CLParams(2)

Ny, Y coordinate of the tool normal vector

CLD[5]

CLD.CLParams(3)

Nz, Z coordinate of the tool normal vector

CLD[6]

CLD.CLParams(4)

Sf, Normal distance from current tool position to the safe plane level

CLD[7]

CLD.CLParams(5)

Tp, Normal distance from current tool position to the hole top level

CLD[8]

CLD.CLParams(6)

Bt, Normal distance from current tool position to the hole bottom level

CLD[9]

CLD.CLParams(7)

Work feed measurements: 0 – mm/rev,

1 – mm/min

CLD[10]

CLD.CLParams(8)

Work feed value

CLD[11]

CLD.CLParams(9)

Approach feed measurements: 0 – mm/rev,

1 – mm/min

CLD[12]

CLD.CLParams(10)

Approach feed value

CLD[13]

CLD.CLParams(11)

Return feed measurements: 0 – mm/rev,

1 – mm/min

CLD[14]

CLD.CLParams(12)

Return feed value

CLD[50]

CLD.CLParams(48)

What spindle is used to machining:

1 - driven tool,

2 - workpiece spindle (lathe).


images/download/attachments/142669157/9f3d4f4c-ace2-4523-b60c-e3d548417f84.bmp

See also:

Technology commands description

Extended cycle <EXTCYCLE>